分享到:
 
 
当前位置: 首页>>汽车频道>>汽车>>正文
路虎申请轮胎充放气系统专利
2017年05月05日 16时33分   新浪汽车

新浪汽车讯 日前,有海外媒体报道称,路虎向美国专利与商标局递交了一项源自军用技术的新专利,专利名称为“多模式中央轮胎充放气系统”,其用于民用量产车,可根据路况的不同随时调整轮胎胎压,以兼顾车辆在越野路面或铺装路面下的最佳状态,同时也可以令车主更加从容地应对扎胎等情况。

高大上!路虎申请轮胎充放气系统专利

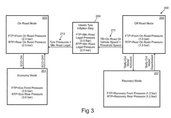
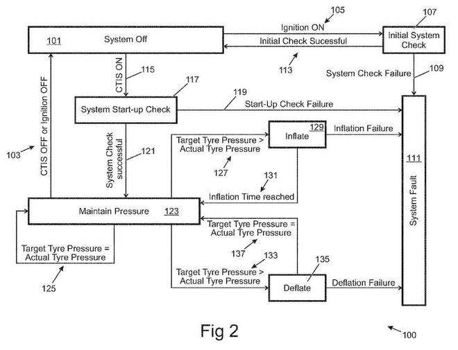
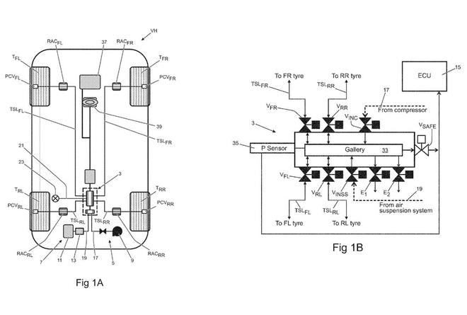
中央胎压充放气系统已经在军用车辆或野外运输车上得以采用,不过,路虎的多模式中央轮胎充放气系统要更加先进,其可以根据驾驶员选择的驾驶模式进行精准的胎压调节。而除了根据驾驶员指令进行切换外,其还可以根据传感器输入的数据进行自动调节。

高大上!路虎申请轮胎充放气系统专利

在标准路况下,车辆的轮胎气压会保持在正常的水平;在平坦路面高速巡航的情况下,系统将为轮胎充入更多气体,以减小轮胎滚动阻力、实现燃油经济性的提升;当车辆进入越野路面时,车辆会首先将胎压调至法律允许胎压范围内的下限值,而一旦驾驶员将车速降低到了某个特定临界值时,胎压会进一步降低,以增加轮胎接地面积,加强抓地力;最后,如果牵引力控制系统侦测到车辆发生了陷车情况,中央胎压充放气系统则会继续降低胎压。

高大上!路虎申请轮胎充放气系统专利

除了随时随地按需调整胎压外,路虎这项新技术还能够帮助车主应对扎胎和轻度的轮胎漏气。当轮胎因为气门嘴损坏或胎面磨损形成“慢撒气”现象时,系统可以持续为轮胎充气,以满足车辆行驶所需的胎压,协助驾驶员在轮胎损坏的情况下尽可能行驶得更远。外媒预计,路虎的这款多模式中央轮胎充放气系统未来将逐步配备在路虎的新车型上。

(责任编辑:梁艳)

关闭窗口

    主办单位:忻州日报社 晋ICP10003702 晋新网备案证编号:14083039 晋公网安备 14090202000008号

    律师提示:本网站所刊登的各种信息,均为忻州在线版权所有,未经协议授权,禁止下载使用,凡不注明出处的将追究法律责任。

    地址:山西省忻州市长征西街31号 热线:0350-3336505 电子邮箱:sxxzrbw@163.com